溆浦县井湾耐火粘土矿“4.11”瓦斯燃烧事故救援报告
2015年4月11日
一、事故矿井简介
溆浦县井湾耐火粘土矿位于溆浦县舒溶溪乡尖岩塘村,离县城约10公里。该矿属个体私有企业,法人代表兼矿长舒均跃(男,52岁,溆浦县舒溶溪乡尖岩塘村1组人)。井湾耐火粘土矿系与煤伴生矿,(采矿许可证许可开采矿种为粘土矿)主采矿种为粘土,可采储量4.05万吨,设计服务年限4.5年,矿井开采深度+430m至+200米标高,矿山面积0.081km2 ,主斜井井口标高+358.5m。
该矿采矿许可证有效期2013年7月-2016年7月,目前,该矿仍为基建类矿井,尚未取得安全生产许可证。矿井开拓方式为斜井开拓;通风方式为对角式通风,通风方法为抽出式,风井安装有2台5.5KW(YBR56-4-H08型)轴流式抽风机,掘进作业采用YBT-2.2型局部通风机通风;矿井斜井采用单筒绞车串车提升。
二、事故救援经过
事发后,怀化市市委常委、政法委书记易贵长及溆浦县委书记蒙汉等及时赶赴现场指挥。2015年4月11日21点,怀化市矿山救护大队溆浦救护中队接到事故救援召请电话,于21点45分到达事故矿井。到指挥部报到并简单地了解事故情况。事故发生后,该矿已组织了四名矿工进入井下进行救援;该矿三斜井以上为机械通风,四斜井以下为独头巷道,由一台2.2KW局部通风机送风。中队长张英叶带领1个小队7人下井救援。进入井下500m,在四斜井绞车房处发现3名前去救援的矿工,简单的询问了事故发生的基本情况:据救援矿工描述,事发现场在工作面,距地面斜长有560米左右,共有四道暗斜井。4月11日晚班(20:00~次日2:00),当班下井人数9人,安排+240m中段运输大巷3号天眼南平巷一个掘进工作面掘进。其中:作业人员6人(大工武育爱、邓忠贤,小工邓本徐、武宗贤,+204m中段运输大巷运输工武宗欢,四级盲斜井绞车司机徐本胜),三级盲斜井绞车司机吴先友,二级盲斜井绞车司机周军。当班值班长黄友田。
19时50分,作业人员在地面装了一车支护木料后开始下井。邓本胜,邓本徐两人在三级盲斜井下放材料车。20时5分,武育爱、邓忠贤、武宗贤、武宗欢4人到达+204m中段运输大巷3号天眼,由于中班(14:00~20:00)作业人员还没有出班,20时10分,中班的作业人员出班,武宗贤,邓忠贤先后进入+204m中段运输大巷3号天眼南平巷。
20时20分,武育爱正在沿天眼往上爬时,在天眼下部的武宗欢突然听到“砰”的一声,看到天眼上部有一个火球冲下来,将他裹在火球中,将他的毛发烧焦,面部和手等裸露部位的皮肤被灼伤,矿灯矿帽被吹走,同时看到武育爱从天眼内掉下来,就对武育爱说“我自己也受伤了,无法救你,我到外面找人来救你”,然后找到矿灯后就朝+204m中段井底车场走去。武宗欢走到+204m中段井底车场后,打电话告诉四级盲斜井绞车司机邓本胜,下面起火了,快点下来救人,打完电话后继续往上走。邓本胜随即打电话到地面报告事故并告诉二、三级盲斜井绞车司机下来救人,打完电话后看到了从下面跑上来的武宗欢,将他扶到三级盲斜井绞车房后由抢救人员护送出井。
地面得知事故消息后,地面绞车司机舒芹带上3个自救器和当班值班长黄友田(在地面吃饭)、上班的值班长舒成、中班的作业人员先后入井抢救。舒芹、黄友田等人走到二级盲斜井绞车房后,打电话通知地面开启了压风。走到+204m中段运输大巷巷3号天眼处,发现武育爱上身衣服被烧掉,人还有呼吸,由邓本胜和周军背送出井。出井后将武宗欢、武育爱两人送往溆浦县人民医院,武育爱经抢救后伤重死亡。
20时50分,由于+204m中段运输大巷风筒被破坏,舒芹、黄友田等人将运输大巷压风管套入天眼内塑胶通风管内,对天眼上部进行通风;21时,黄友田在天眼下方看护压风管,舒成在运输大巷内更换烧焦的风筒,舒芹配带自救器独自进入天眼内上平巷救人。
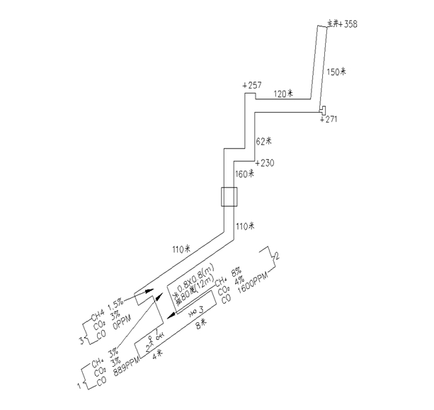
21时20分,黄友田因吸入有害气体昏倒,经抢救人员背送至三级盲斜井绞车房后苏醒;21时30分,舒成也因吸入有害气体昏倒,经抢救人员背送至四级盲斜井绞车房后苏醒。至21时45分,因矿方盲目抢救,造成抢救人员舒芹被困。后面陆续赶来的矿方救援人员看到事发巷道里烟尘很大,视线模糊,呼吸比较困难,并且温度较高(30℃)。没敢继续施救而准备返回到地面。在途中遇到溆浦中队救援人员。救援小队嘱咐救援矿工迅速撤离矿井,全队佩用救援装备对四斜井及以下平巷进行了全面侦察;行至到离事故点附近开3号天眼上山处,坡度大约在80度(以下简称天眼)进行了气体检测,该处气体为CH4为3﹪,CO2为3﹪,CO为889PPM;天眼处高约12 m,事发点洞口狭窄,里面情况不明。根据当时现场情况,队长张英叶果断决策带两个队员先进入,其他队员在外接应。张英叶爬行进到达天眼7米处时,检测该处气体CH4为8﹪,CO2为4﹪,CO为1600PPM,烟尘很大,视线模糊,无法前进。便退回至四斜井绞车房新鲜风流地点,在此设置井下基地,将井下情况报告地面指挥部,并提出更换大功率局部通风机进行通风。指挥部立即批准后组织人员将所需装备送至井下基地。15分钟后更换局部通风机成功。加强通风后,救援小队再次进入事故点下平巷,天眼下该地点的气体为CH4为1.5﹪,CO2为3﹪,CO无显示,副队长熊斌,周军华,队员向长文佩用呼吸器爬上天眼平巷道,用绳索运输风筒继续铺设通风管道。通风10分钟后,巷道烟雾消散很快,基本可以看清巷道里面情况。此时发现距天眼不到2m地方有一倒地矿工(标为1号遇难者)身上衣物完好,头朝巷道内,扑卧在地,身上有矿灯,(已无生命特征)头边有一化学氧自救器,已打开挂在嘴边,初步判断是自救器过期(据了解该批自救器是2013年购买)无法呼吸氧气,憋气难受吐出口具后吸入有害气体而中毒死亡。在1号遇难矿工50Cm处又有1个矿工(标2号遇难者),上身有衣物,下身大面积烧伤,有矿灯矿帽;前行5m处发现巷道左侧有1个遇难矿工(标为3号遇难者),头朝巷道内翻侧卧地,身上无任何衣物,烧伤面积最大,在尸体到巷道边中间发现一包打开的香烟,内有香烟19支,有烧痕但能辨认是“白沙”牌香烟,没发现打火机。进行全面侦察后,(天眼距工作面6米左右)确定无其他明火源,返回将三名遇难矿工运至天眼下平巷道。 12日凌晨1点30分顺利将三名遇难矿工搬运至井下基地。
怀化市矿山救护队在11日23点30分接到怀化市安监局救援中心电话召请,要求市救护队立即赶往事故矿井。队长易杰带领11个队员共13人(司机1人)于12日0点21分赶到事故矿井,领取任务后,市直属队由副队长兰先荣、罗世兴带队共8人于1时27分入井。从主井+358斜井进入共150米,走到+271水平发现绞车房,且绞车房附近的变坡点没有“一坡三挡”设施,我队继续前进,当走到第二道斜井约40米处时遇见溆浦队书记王行斌,他向兰先荣讲了下面情况,并告知遇难人员已全部找到并运到矿车上,准备运送至地面。我队指挥员兰先荣根据王行斌所介绍的情况考虑到溆浦队先行下井,在井下工作时间长、强度大,先下井的救援人员比较疲劳,决定带队继续前行,行至三下山约100米处和溆浦中队汇合,简单对接后,市直属队对现场再次观察检测,记录有关数据之后,两个小队共同运送遇难人员至井口。12日2点30分事故救援任务结束,全体救护队员安全返回地面。
三、救援体会
1、指挥有方,措施得力。省、市,县有关领导和负责人一直在现场连续坐镇指挥;各级单位配合有序,制定了一系列有效措施,救援现场稳定。根据抢险现场的进度变化制定相应措施,在最短的时间内顺利完成了救援任务。
2、全体指战员反应及时,出动迅速,英勇顽强,执行命令坚决,完成任务彻底。
3、在井下听从指挥,分工明确。对困难没有畏难情绪,严格按照《救护规程》的操作要求进行救援。在复杂的事故现场,时刻掌握和监测各种有毒有害的气体,制定有效措施,大大的节约了救援的时间。
4、要进一步增强安全意识,切实加强作业人员的安全生产培训工作,任何时候一定按《安全规程》去进行作业,坚决杜绝事故扩大。
怀化市矿山救护队
省安全生产应急救援指挥中心

溆浦县井湾耐火粘土矿“4.11”瓦斯燃烧事故救援矿井简图
返回首页